首页
新的苹果潜望镜镜头专利可能适用于2023年的iPhone系列
返回

新的苹果潜望镜镜头专利可能适用于2023年的iPhone系列

2022-12-18 科技信息 By:佚名
最佳答案自去年以来,分析师一直声称苹果将在未来的 iPhone 系列中添加潜望镜摄像头。早在 3 月份,人们就认为我们可能要到 2023 年才能看到任何配备它的 iPhone 。无论如何,苹果潜望镜相机的新专利已经被发现。根据Patently Apple 的说法,这家库比蒂诺公司刚刚获得了欧洲专利商标局的“折叠相机&rdq...

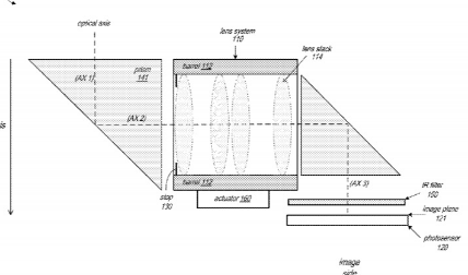
自去年以来,分析师一直声称苹果将在未来的 iPhone 系列中添加潜望镜摄像头。早在 3 月份,人们就认为我们可能要到 2023 年才能看到任何配备它的 iPhone 。无论如何,苹果潜望镜相机的新专利已经被发现。

根据Patently Apple 的说法,这家库比蒂诺公司刚刚获得了欧洲专利商标局的“折叠相机”专利。它提到在移动设备中使用多镜头系统“以低 F 值捕获高分辨率、高质量的图像”。顺便说一下,这里的 F 可能指的是镜头的光圈。基本上,它描述的是潜望镜相机模块。

此前有传言称,苹果将为 2023 款 iPhone 系列配备潜望式摄像头。但该公司可能不会将其仅限于 iPhone,因为该专利还提到了“平板电脑和平板设备”。这可能意味着 Apple 正在考虑将其添加到 iPad 中,尽管它不是最实用的实现方式。

猜你喜欢
金色的脚印百科(金色的脚印主要内容简)

金色的脚印百科(金色的脚印主要内容简)

12-18 0 阅读
介绍Windows 7恢复系统隐藏文件的两种方法

介绍Windows 7恢复系统隐藏文件的两种方法

12-18 0 阅读
诺基亚c5 01(诺基亚c505(诺基亚C505))

诺基亚c5 01(诺基亚c505(诺基亚C505))

12-18 0 阅读
小米air2se和2s有什么区别(小米2和2s有什么区别(小米2跟2s有什么区别))

小米air2se和2s有什么区别(小米2和2s有什么区别(小米2跟2s有什么区别))

12-19 0 阅读
市本级社保和区社保有什么区别(市本级)

市本级社保和区社保有什么区别(市本级)

12-19 0 阅读
我本将心向明月奈何明月照沟渠这句话是什么意思

我本将心向明月奈何明月照沟渠这句话是什么意思

12-18 0 阅读
热门推荐
钠离子外流属于什么运输方式(钠离子)

钠离子外流属于什么运输方式(钠离子)

12-19 0 阅读
梦幻西游手游表情(梦幻西游新表情)

梦幻西游手游表情(梦幻西游新表情)

12-18 0 阅读
张韶涵演唱会(关于张韶涵演唱会的介绍)

张韶涵演唱会(关于张韶涵演唱会的介绍)

12-19 0 阅读
氢氧化钾的电子式形成过程(氢氧化钾的电子式)

氢氧化钾的电子式形成过程(氢氧化钾的电子式)

12-18 0 阅读
面如土色的近义词和反义词(面如土色的近义词)

面如土色的近义词和反义词(面如土色的近义词)

12-18 0 阅读
琦基u2000(琦基u1000)

琦基u2000(琦基u1000)

12-18 0 阅读
音悦台怎么创建悦单(音悦台怎么打榜?音悦台打榜教程)

音悦台怎么创建悦单(音悦台怎么打榜?音悦台打榜教程)

12-18 0 阅读
苏州红砖价格多少钱一块(红砖价格多少钱一块)

苏州红砖价格多少钱一块(红砖价格多少钱一块)

12-18 0 阅读
厦门律师事务所免费咨询在线(厦门律师事务所免费咨询)

厦门律师事务所免费咨询在线(厦门律师事务所免费咨询)

12-18 0 阅读
大合唱的队形(大合唱队形及动作)

大合唱的队形(大合唱队形及动作)

12-18 0 阅读